关于计算机网络的学习笔记
摘要:本文介绍了网络通信中的核心概念:MAC地址是网卡的物理标识,用于局域网内通信;IP地址是逻辑地址,用于跨网段通信,分为IPv4和IPv5类。设备方面,交换机通过MAC地址表实现局域网通信,路由器通过路由表连接不同网段。网络分为局域网(LAN)和广域网(WAN)。文章还阐述了ARP协议、ICMP协议、域名解析原理,以及数据交互过程和ARP欺诈攻击方式,包括攻击检测方法。这些概念共同构成了网络通
1、地址
mac地址定义数据链路层的 “物理地址”,是网卡的唯一硬件标识(类似设备的 “身份证”),是同一网段内数据帧的投递标识
mac地址理解:主机的物理地址,出厂自带,相当于个人身份证
IP地址定义网络层的 “逻辑地址”,用于标识设备的 “网络位置”(网段 + 主机),是跨网段通信的定位依据(类似 “街道门牌号”)
IP地址理解:人为创建的逻辑地址,相当门牌号
IP地址:
1、IPv4;二进制32位,目前主要使用,分8位一个字段,以“.“间隔,分为网络号和主机号;网络号越少,主机号越多;网络号越多,主机号越少
2、IPV6:二进制128位:核心解决地址不足问题
ip地址分为5类:
A类:大型网络(1.0.0.0-126.255.255.255)主要用于运营商骨干网、超大型企业—相当于国家、省、市、区服务器;网络号8位;主机号24位
B类为中型网络(128.0.0.0-191.255.255.255)主要用于高校、大型企业内网—相当于区县、街道、小区服务器;网络号16位;主机号16位
C类为小型网络(192.0.0.0-223.255.255)主要用于家庭、办公内网相当于小区、单元、门牌号服务器;网络号24位;主机号8位
D类特殊任务的门牌号格式,比如用于社区广播或内部实验;网络号4位;剩余为多播地址
E类特殊任务的门牌号格式,比如用于社区广播或内部实验;网络号4位;剩余为保留地址
2、设备
交换机
工作在数据链路层的 “局域网分发器”,通过 MAC 地址表转发数据帧,实现同一网段内设备的直接通信(负责 “本地串门”)
主要用于局域网通信,少量主机通信;
交换机内主要保存MAC地址表,同时匹配交换机端口号
如下:
| MAC地址表 | 端口号 |
|---|---|
| aa-aa-aa-aa-aa-aa | 1 |
| bb-bb-bb-bb-bb-bb | 2 |
| cc-cc-cc-cc-cc-cc | 3 |
| dd-dd-dd-dd-dd-dd | 4 |
| ............. | 5 |
交换机内所有主机为同一网段,用于局域网通信,对应局域网内主机越来越多,需要保存的MAC地址越来越大,同时匹配的端口需要也越来越多,导致物理设备会变大,占用空间同时会变大
路由器
网络层的 “跨网段中转站”,通过路由表转发 IP 数据包,连接不同网段 / 局域网,同时可接入广域网(负责 “跨区传递”)
主要连接不同网段,实现交换机之间的相互连接,路由器内主要保存的为ip网段及端口;如下:
| 网段 | 端口 |
|---|---|
| 192.168.0.0/24 | 1 |
| 192.168.1.0/24 | 2 |
| 192.168.2.0/24 | 3 |
| 192.168.3.0/24 | 4 |
| 192.168.4.0/24 | 5 |
网段可以为:192.0-255.0-255.0/24,进行匹配端口
3、网络分类及连接
局域网LAN(内网):
小范围(如家庭 / 办公)的互联网络;主要为C类IP地址
广域网WAN(外网):
外网连接的大网络;主要为A、B类IP地址
内网IP:局域网内设备的 “内部编号”,仅用于内网互通,局域网内唯一,局域网内不可重复
外网IP:设备在互联网的 “全球身份证”,用于跨地域通信,内网设备需通过路由器关联外网 IP 才能访问外网。全球唯一,不可重复
外网通信路径举例:(长沙-北京)
终端(192.168.1.20)→【长沙】路由器(192.168.1.0/24,端口号1)分发(0.0.0.0/0【默认路由】,端口号1)→运营商网管(跳转分发)→【北京】路由器(124.237.177.164)→目标IP路由器wan网端口号(124.237.177.85)→目标IP(目标路由器下的192.168.3.0/24)
程序/应用→程序/应用网络连接
端口号:在同一台设备上区分不同的网络应用 / 服务
程序/应用→程序/应用网络连接:使用端口号进行定位应用 / 服务
举例:
| 应用/服务 | 私网ip+端口号 | 公网IP+端口号 | 应用/服务 |
|---|---|---|---|
| 192.168.1.15:13456 | 145.13.0.1:60001 | ||
| vx | 192.168.1.15:9989 | 145.13.0.1:60002 | vx |
| 浏览器 | 192.168.1.15:15601 | 145.13.0.1:60003 | 浏览器 |
常见默认端口号:
| 常见端口号 | |
|---|---|
| Mysql | 3306 |
| Apache | 80 |
4、网络协议
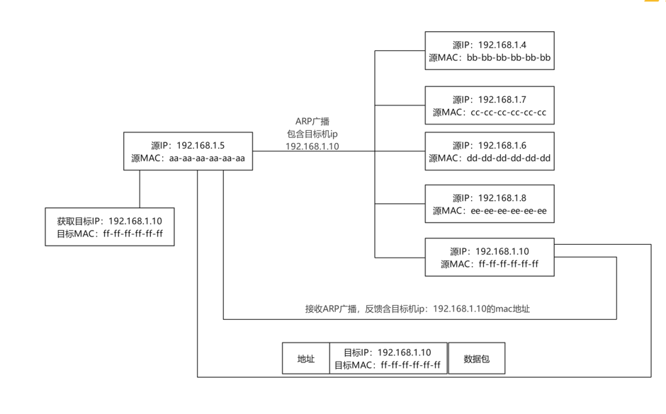
arp协议
(Address Resolution Protocol)地址解析协议。根据目标 IP 地址,找到对应的 MAC 地址。
主要为局域网内广播协议,源ip及源MAC地址局域网内发送广播协议至局域网内所有终端主机,目标ip根据arp广播对源IP发送自身mac地址,进行后续数据包传输

ICMP协议
定义:用于在IP主机、路由器之间传递控制消息。
作用: “反馈网络状态、排查通信故障”,而非传输业务数据
使用:cmd中ping网络连接状态
域名
定义:由一串用点分隔的名字组成的Internet上某一台计算机或计算机组的名称

8个常见的顶级域名

1、域名的主要识别方式为:从右→左;
2、域名和ip是互通的,域名主要是方便记忆,通过DNS进行域名和ip地址互换
3、【分布式网络连接】通过CDN进行内容分发
5、数据交互
1、不同网关下(终端A→交换机A→路由器→交换机B→终端B):

终端A(192.168.0.23)发送时数据包目标的MAC地址为路由网关(192.168.0.1)的MAC地址
路由器转换为网关(192.168.1.1)的MAC地址
传输至终端(192.168.1.33)的MAC地址
目前路由器带交换机功能情况下,交换机A和交换机B可以取消
2、同一网关下
arp广播获取目标mac地址后,直接局域网内传输
6、攻击方式
ARP欺诈攻击
定义:ARP攻击就是通过伪造IP地址和MAC地址实现ARP欺骗
使用:主要存在于局域网中。若其中一台计算机感染ARP病毒,就会试图通过ARP欺骗截获局域网内其他计算机的信息,造成局域网内的计算机通信故障
1、cmd中通过ipconfig获取网关信息
2、通过kali伪造网关MAC地址
arpspoof -i eth0 -t 192.168.1.5 192.168.1.1
-i 参数是网卡名称 -t 参数是目标主机(192.168.1.5)和网关(192.168.1.1),截获目的主机发往网关的数据包
检查方式
正常可上网状态下查询网关MAC地址
cmd中查询ipconfig获取网关信息;
CMD中arp -a查询同一网关下MAC地址表,检查物理地址表是否存在变化
更多推荐



所有评论(0)